全部文档
当前文档

暂无内容

如果没有找到您期望的内容,请尝试其他搜索词

文档中心

集群配置管理

最近更新时间:2024-06-21 10:47:00

查询资源配置

  1. 登录金山云KMR控制台

  2. 在集群管理下方点击配置管理进入页面。

修改配置

您可选择修改FE/CN配置或者同时修改

对于需要重启实例组生效的配置,您需要在修改配置,点击保存之后点击上方重启按钮重启实例

您可在适当时间重启实例,需注意:若不重启,实例配置修改将不生效

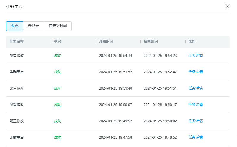
配置修改历史

您可查看过去30天的配置修改操作及状态

文档导读
纯净模式常规模式

纯净模式

点击可全屏预览文档内容
文档反馈