全部文档
当前文档

暂无内容

如果没有找到您期望的内容,请尝试其他搜索词

文档中心

停用/删除项目

最近更新时间:2023-11-16 19:10:42

如果您不需要某个项目,您可以将其停用,进而删除。

使用限制

  • 默认项目不支持停用或删除。
  • 停用的项目可以恢复,一旦删除将无法恢复,请谨慎操作。

停用项目

停用项目前,需要确保

1.要停用的项目下无成员。如有,请先移除成员。
2.要停用的项目下无资源,如有,请想将资源释放或者转移至其他项目。

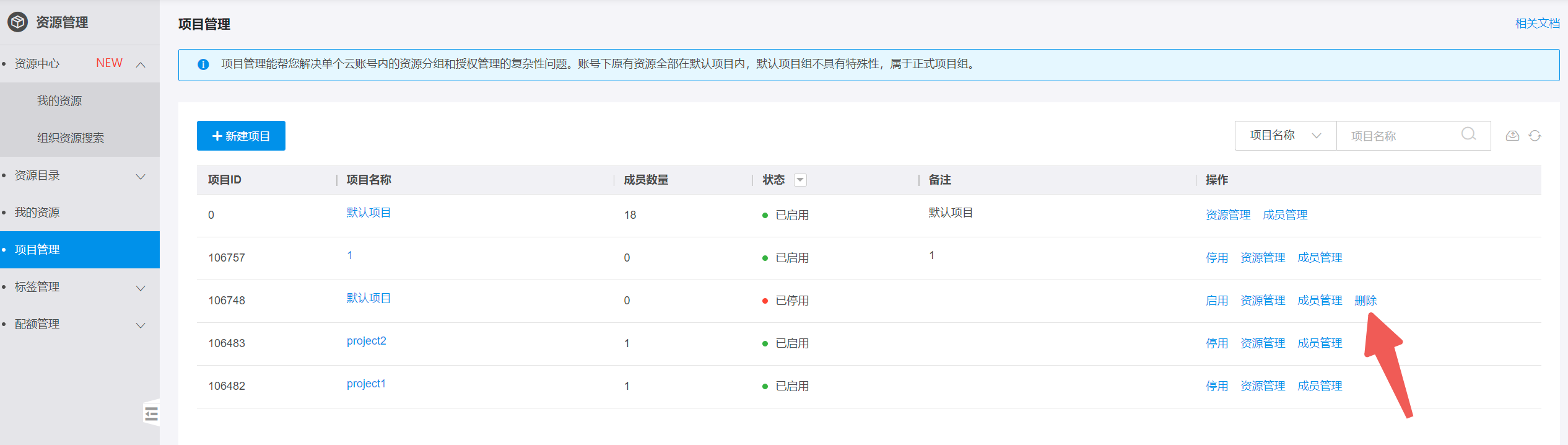
  1. 登录资源管理控制台
  2. 在左侧导航栏,选择项目管理
  3. 在项目列表,找到目标项目,单击操作列停用按钮。
  4. 在确认停用弹窗中,单击确定。
    image.png

删除项目

删除项目前,请先将项目停用。

  1. 登录资源管理控制台
  2. 在左侧导航栏,选择项目管理
  3. 在项目列表,找到目标项目,单击操作列的 更多> 删除按钮。
  4. 在确认弹窗弹窗中,单击确定。
    image.png

执行结果

项目停用/删除后,在支持项目制的云产品控制台,项目列表将不会展示已停用或删除的项目。

文档导读
纯净模式常规模式

纯净模式

点击可全屏预览文档内容
文档反馈