最近更新时间:2024-05-27 18:59:18
源端 | 目标端 |
|---|---|
云数据库 MySQL 5.7 | 自建Elasticsearch 6.8 |
如果源数据库没有主键或唯一约束,且所有字段没有唯一性,可能会导致目标数据库中出现重复数据。
DTS在执行数据同步时将占用源库和目标库一定的读写资源,可能会加重数据库压力。因此您需要在执行数据同步前评估源库和目标库的性能,建议您在业务低峰期进行数据同步。
数据同步期间注意不要手动删除binlog文件,否则可能引起同步失败。
预检查中如果源库日志模式检查失败,源数据库修改binlog_format、binlog_row_image后,请注意重启数据库,否则可能引起数据不一致。
数据同步期间,避免会话级别修改binlog_format为ROW以外的其他模式,避免会话级别修改binlog_row_image为FULL以外的其他模式,否则可能引起迁移失败。
同步期间,避免在目的数据库进行写入操作,否则可能引起数据不一致。
对于同步失败的任务,DTS会触发自动恢复。在您将业务切换至目标实例前,请务必先结束或释放该任务,避免该任务被自动恢复后,导致源端数据覆盖目标实例的数据。
不支持数据库、视图、索引、约束、函数、存储过程、触发器(TRIGGER)和事件(EVENT)的同步。
在库表结构同步阶段,请勿执行库或表结构变更的DDL操作,否则数据同步任务会失败。
不支持无主键表的同步,无主键表会被自动过滤。
若MySQL实例同步至Elasticsearch实例的数据包含DOUBLE类数据,同步后偶现精度差异。
若MySQL实例同步至Elasticsearch实例的数据包含GBK类中文字符,同步后会导致数据错误。
若MySQL实例同步至Elasticsearch实例的数据包含GEOMETRY类数据,同步后会导致数据错误。
数据库 | 全量同步 | 增量同步 |
|---|---|---|
源端为RDS MySQL | SELECT权限 | SELECT, RELOAD, REPLICATION SLAVE, REPLICATION CLIENT, SHOW VIEW权限 |
目标端为自建Elasticsearch | 读写权限 | 读写权限 |
由于MySQL和Elasticsearch实例支持的数据类型不同,数据类型无法一一对应,所以DTS会在同步时对某些数据类型进行特殊处理。以下是部分特殊处理后的数据类型映射关系:
MySQL | Elasticsearch | 说明 |
|---|---|---|
MEDIUMINT | TEXT | - |
DECIMAL | TEXT | - |
DATE | DATE | 目标端DATE会增加时刻信息,例如:
|
类别 | 配置 | 说明 |
|---|---|---|
任务信息 | 任务名称 | DTS默认会自动生成一个任务名称,建议根据业务配置相关名称,便于识别。 |
定时执行 | 是否定时执行任务,默认为“否”。 |
类别 | 配置 | 说明 |
|---|---|---|
源库信息 | 源库类型 | 数据库类型,此处选择MySQL。 |
实例类型 | 实例类型,此处选择云数据库RDS。 | |
实例地域 | 选择源库所属地域。 | |
实例ID和实例名 | 选择源库实例,支持以实例ID和关键字进行搜索。 | |
数据库账号 | 源库MySQL实例的数据库账号。 | |
数据库密码 | 源库MySQL实例的数据库密码。 | |
目标库信息 | 目标库类型 | 数据库类型,此处选择Elasticsearch。 |
实例类型 | 实例类型,此处选择自建数据库。 | |
网络类型 | 选择目标库接入的网络类型,此处选择公网。 | |
实例外网地址 | 目标库访问IP地址。 | |
实例端口 | 目标库访问端口。 | |
数据库账号 | 目标库Elasticsearch实例的数据库账号。 | |
数据库密码 | 目标库Elasticsearch实例的数据库密码。 |
连通性检查成功后,单击授权白名单并进入下一步。
在迁移类型及列表页面,配置迁移类型、迁移对象。
配置 | 说明 |
|---|---|
迁移类型 | 默认同步库表结构、全量数据和增量数据。 |
迁移对象 | 支持迁移整个实例和指定库表。 |
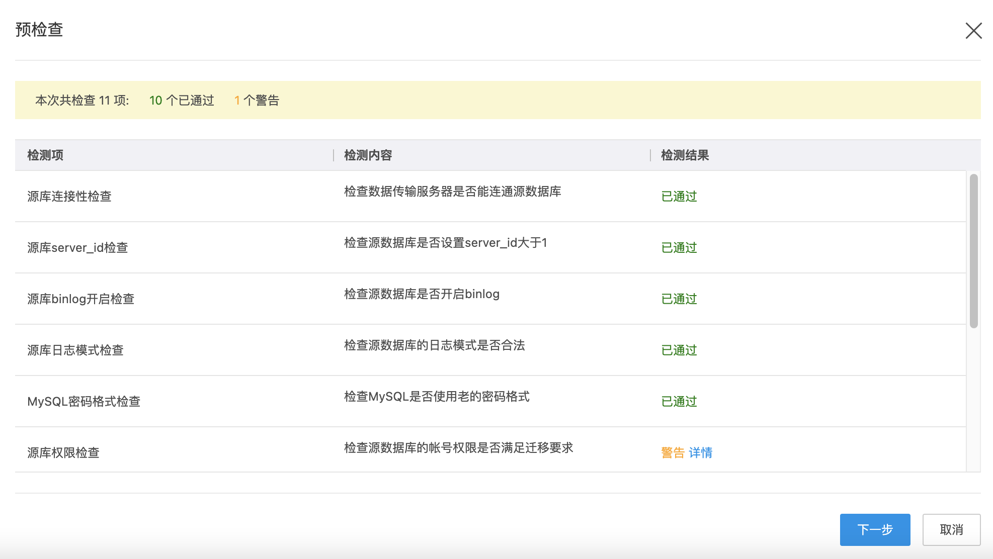
完成配置后单击下一步,在任务详情页面单击预检查进行预检查。
如果预检查不通过,可以参考 预检查项 修复问题后,重新发起预检查校验。
预检查通过后单击下一步,在购买确认页面选择计费模式,单击确定并创建任务完成订单创建。
支付成功后同步任务创建完成,单击开始任务后同步任务正式开始。如果您需要对任务进行管理,详见 任务管理。
纯净模式
